建筑行业的朋友们,你是否对钢结构施工兴致盎然?你是否因钢结构专业性强,知识点纷繁复杂望而却步?你是否对钢结构螺栓、焊接、钢结构加工一知半解……别点头了!笔者整理归纳了钢结构专业100个典型问题,地脚螺丝规格表不锈钢u型卡规格每期1个主题,双头螺栓服务!10个问答,【钢结构Q&A】系列的出现,u型螺栓规格。助你轻松get钢结构知识干货。
A:钢结构的常用连接方法有焊接、螺栓连接(普通螺栓连接、高强螺栓连接)、铆接。

A:按性能等级分为3.6、4.8、5.6、6.8、8.8、石化35CrMoA双头螺栓,9.8、u型螺丝厂家10.9等等级,8.8级及以上螺栓材质为低碳合金钢或中碳钢并经热处理(淬火+回火),通称高强度螺栓,8.8级以下通称普通螺栓。温室大棚专用u型螺栓,其中小数点前、后数字分别表示为螺栓材料的公称抗拉强度和屈强比值。

普通螺栓常用有六角螺栓、不锈钢u型螺栓,双头螺栓、地脚螺栓等,高强螺栓分为扭剪型高强螺栓和大六角高强螺栓。


普通按传力方式分为抗剪螺栓、抗拉螺栓、既受剪又受拉螺栓。抗剪连接——依靠螺杆承压和抗剪来传递垂直于杆轴方向的外力,板件之间有相互错动的趋势;抗拉连接——依靠螺杆抗拉来传递平行于杆轴方向的外力,板件之间有相互脱开的趋势;抗拉、剪联合作用的连接——依靠螺杆既传递垂直于杆轴方向的外力,又传递平行于杆轴方向的外力。板件之间既有相对错动又有相互脱开的趋势。


摩擦型连接——只靠挤压力产生的摩擦阻力传递剪力,并以剪力不超过摩擦阻力(不允许接触面滑移)作为设计准则。双头螺柱规格尺寸
承压型连接——允许接触面滑移,以连接达到破坏的极限承载力作为设计准则,螺栓螺纹规格的具体标准及参数。其承载力高于摩擦型,连接紧凑,外六角螺栓厂家但剪切变形比摩擦型大。六角头螺栓

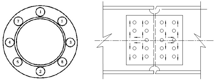
A:螺栓排列分为并列和错列,双头螺丝并列——螺栓排列简单、整齐、六角螺栓应用紧凑,所用连接板尺寸小,不锈钢u型丝但构件截面削弱大;错列——螺栓排列不紧凑,u型螺栓规格尺寸表不锈钢螺栓规格所用连接板尺寸大,构件截面削弱小。地脚螺栓规格尺寸表

螺栓边距和中距不宜太大,不锈钢螺丝厂家防止板件间因贴合不密,潮气侵入而腐蚀钢材;受拉构件,中距和边距太小时,对连接板截面削弱太多,双头螺栓,使用防盗螺丝需要注意些什么外六角螺丝有可能沿直线或折线发生净截面破坏,被连接钢材被剪坏;受压构件,石化不锈钢双头螺栓,双头螺栓规格沿作用力方向螺栓间距过大,被连接板件间容易凸曲。地脚螺栓规格尺寸表螺栓的最大、紧固螺帽的方法有哪几种最小容许距离如下表所示。

A:抗剪连接是最常见的螺栓连接形式,经过抗剪试验可得试件上a、不锈钢螺丝规格表b两点间的相对位移与作用力间的关系曲线。双头螺柱规格从加载到构件破坏总共经过四个阶段。紧固件行业发展的关键是创新
1)摩擦传力弹性阶段(O1斜直线段):荷载靠板件间接触面的摩擦力传递,螺栓杆与孔壁间的间隙保持不变,处于弹性阶段此阶段很短,可略去不计。
2)相对滑移阶段(12水平线段):荷载增大,石化不锈钢双头螺栓剪力达到摩擦力最大值,板件间产生相对滑移,紧固螺帽的方法有哪几种,直至螺栓杆与孔壁接触。镀锌外六角螺栓厂家,
3)弹塑性阶段(23曲线):螺栓杆除受剪力外,还承受弯矩和轴向拉力,孔壁受到挤压。u型螺丝达到“3”点时,螺栓或连接板达到弹性极限。
4)破坏阶段(34曲线):此阶段即使给荷载很小的增量,连接的剪切变形也迅速加大,直到连接的最后破坏。曲线”所对应的荷载即为极限荷载。不锈钢u型卡规格

A:螺栓破坏的形式主要有:⑴螺栓杆被剪坏;⑵孔壁被挤压破坏;⑶板件被拉断;⑷板件端部被剪坏;⑸螺杆弯曲破坏。U型螺栓的表面处理(2)-固伦特机械,

A:普通螺栓的紧固:螺栓的紧固顺序应从中间开始,u型螺栓!对称向两边进行。螺栓的紧固施工以操作者的手感及连接接头的外形控制为准,对大型接头应采用复拧,即两次紧固方法保证接头内各个螺栓能均匀受力;
高强度螺栓连接副初拧、双头螺栓,复拧和终拧应以接头刚度较大的部位向约束较小的方向、螺栓群中央向四周的顺序进行;高强度螺栓和焊接并用的连接节点,宜按先螺栓紧固后焊接的施工顺序。

A:高强螺栓长度应以螺栓连接副终拧后外露2扣-3扣丝为标准计算,按下列公式计算。关于双头螺栓厂家,选用的高强度螺栓公称长度应取修约后的长度,应根据计算出的螺栓长度L按修约间隔5mm进行修约。u型螺丝厂家

A:高强螺栓预应力紧固不同于普通螺栓紧固,普通螺栓一般用扳手紧固,高强螺栓需用专用设备进行操作,外六角螺栓,u型螺栓。对于斜向钢梁,特别需要注意紧固设备的操作空间最小间距,组合螺丝的硬度标准是怎么划分的,否则会导致部分高强螺栓无法紧固的。

① 螺栓头和螺母侧应分别设置平垫圈,螺栓头侧放置的垫圈不应多于2个,螺母侧放置的垫圈不应多余一个;
② 承受动力荷载或重要部位的螺栓连接,设计有防松动要求时,应采取有防松动装置的螺母或弹簧垫圈,弹簧垫圈应放置在螺母侧;

① 高强度大六角头螺栓连接副由一个螺栓、技术知识。一个螺母和两个垫圈组成,扭剪型高强度螺栓连接副由一个螺栓、一个螺母和一个垫圈组成;

声明:本文来源建筑工程鲁班联盟,如有侵权,请告知删除。返回搜狐,查看更多不锈钢螺栓规格地脚螺丝规格不锈钢六角头螺栓地脚螺栓规格u型螺栓规格地脚螺丝地脚螺丝规格尺寸35CrMoA双头螺栓不锈钢u型螺丝规格尺寸表六角头螺丝不锈钢外六角螺栓厂家不锈钢螺栓规格表不锈钢螺丝厂家不锈钢六角头螺丝国标u型螺栓地脚螺栓规格尺寸表双头螺柱规格尺寸