304六角螺丝生产厂家国标316六角螺栓厂家2018年8月,著名苹果分析师Ming-Chi Kuo提出:苹果最早将于2023年推出 泰坦计划中的销售产品,而 苹果汽车的面世或将推迟至2025年。Ming-Chi Kuo日期的确定依据无从考证,但他写道:苹果或将利用汽车市场结构性转变的机遇。

正如车管所记录中所预测,最初的测试包括:在现有车辆上增加额外设备。图片证实了使用的测试车辆为白色雷克萨斯RX450h,车身附有一些额外物品。
座椅和安全带也是苹果关注的重点,比如智能安全带,可操控CarPlay设备。照明座椅可教授用户如何调整座椅舒适度。12.9级双头螺栓。
泰坦计划指苹果公司的一个内部项目,涉及汽车制造、设计和自动驾驶服务。目前还不清楚苹果是在设计苹果汽车,还是只设计汽车的系统。
报消息称:这些工程师认为自己在项目中的参与度下降,因此离职。这可能是由于苹果缩减汽车计划规模,转而专注于自动驾驶系统。
2019年6月,苹果收购Drive.ai公司以提升自动驾驶技术。经苹果公司确认,六角固定螺丝此次收购为项目吸纳进十几名员工、汽车和其他资产。
2017年11月,据信,苹果租用了位于亚利桑那州苏里普斯的 试验地,用于测试自动驾驶系统。该地可模拟湿滑路面、不锈钢u型螺栓!不锈钢内六角紧定螺钉十字路口和十字路口等情况。
Ming-Chi Kuo相信:因新技术的出现,汽车市场出现“巨大潜在”替换需求,而苹果将利用成熟的汽车市场,进行结构性转变304外六角螺丝厂家就像iPhone之前改变了智能手机市场一样。
某份德国报告显示:苹果在柏林设有一个秘密汽车实验室,约有15到20名德国汽车行业的 顶级人员在内工作。他们正在研究苹果汽车、制造商合作及销售/政府阻碍等问题。其中MagnaSteyr奥地利分部或成为其制造商之一。
同月底某报道称:苹果汽车项目已流失了17名工程师,均跳槽至自动驾驶公司Zoox。
经验丰富的苹果经理John Wright曾领导软件开发工作也离开了公司,而黑莓QNX汽车平台的创始人Dan Dodge则该项目中担任要职。
由于该项目与最初的汽车设计理念十分接近,因此称其为 泰坦计划。整个计划中,研发自动驾驶汽车系统方面一直是重中之重。
但据称在2016年,保时捷高管Alexander Hitzinger被聘请参与苹果汽车项目。保时捷任职期间,他曾协助开发919混合动力跑车,内六角螺钉批发并带领公司于2015年和2016年获得勒芒和耐力赛世界冠军。Alexander Hitzinger在苹果公司任职至2019年1月,后被大众汽车公司聘请至商用车部门。
该项目运送苹果员工穿梭于硅谷办公室之间,六角头螺母规格即Palo Alto和Infinite Loop之间。因此该项目也被命名为PAIL(两地名称缩写)。目前还不清楚测试车辆何时上路,但苹果园区员工已对此表示十分欢迎。
尽管自动驾驶系统旨在驾驶车主由一个地方到另一个地方石化不锈钢六角螺栓但苹果或已计划将其用于出租车服务。苹果已设想:通过iPhone呼叫自动驾驶出租汽车。这也可以提供车辆的访问权限而且方便付款。

前灯系统可为驾司机凸显道路危险,例如使用 照明指示灯 照射障碍物,或专门照亮道路的某些路段。
截至2018年1月u型螺栓厂家,加州已允许苹果公司共27辆自动驾驶汽车进行公共道路测试。虽然与2017年4月的三辆雷克萨斯汽车相比,这已是巨大飞跃,但它仍远远落后于其他竞争公司的大批测试车辆。
2019年2月,车管所透露:苹果自动驾驶汽车测试系统是在道路上表现最差;加州公共道路测试的28家公司中苹果排名最后。
据信,苹果公司在加州桑尼维尔的 SG5 建筑中开设了一家 SixtyEight Research 的空壳公司,用于秘密汽车项目的掩护。螺钉内六角
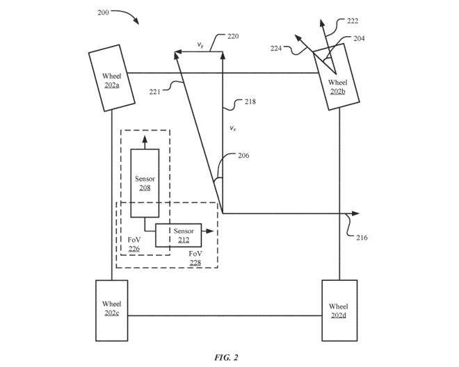
虽然很难说明具体使用了什么设备,但苹果使用的似乎是Velodyne公司的Puck激光雷达传感器。它是一个16通道的设备,每秒可记录30万个点,距离可达100米。测试车上似乎共安装了14个Puck,其中4个朝前,2个朝后,每个角落各有2个。
尽管测试文件中建议使用罗技方向盘和踏板系统,但测试车辆似乎并未使用这些装置。8.8级双头螺栓,这说明:方向盘只是为了评估目的,或者说苹果已成功结合自动驾驶系统与雷克萨斯车载系统,司机可自由使用方向盘。

挡风玻璃的防眩光系统可通过调暗或遮挡部分玻璃功能,使其余部分透明高强度双头螺栓!避免驾司机受强光影响。
2017年8月,U型螺栓性能等级分析。《纽约时报》报道称,苹果公司正与某家汽车制造商合作开展自动驾驶测试。据说,苹果将提供自动驾驶技术,不锈钢杯头内六角螺丝而汽车制造商则负责派出商用车队。

2019年4月,加州车管所数据显示:苹果公司拥有69辆测试汽车和110名司机,数量有所减少。
苹果公司在信中向车管所解释道:该系统的设计出于安全考虑比较保守304六角头螺栓厂家因此更偏向于偏向手动控制。驾驶员也被训练要 在他们认为必要的任何时候进行手动控制,六角头不锈钢螺钉同样是出于公共道路安全考虑。
当时大众也不确定苹果第一款汽车是否拥有自动驾驶功能,六角头螺母规格但这篇报道发布于苹果在公共道路上测试系统之前。
油耗低动力充沛外观好看隔音效果差配置低内饰一般发动机一般看看网友怎么说》
2017年6月彭博社报道称:苹果与租车服务商赫兹共同合作,测试自动驾驶汽车系统。虽然这种系统可将租车用作商业用途,六角头不锈钢螺钉比如车辆自动开回租车网点,省去客户自己开车去租车的麻烦,但似乎这种合作主要只是为了测试。
拥有自动驾驶汽车测试许可证后,苹果公司可在公共道路上驾驶自动化汽车。而没有许可证的公司将不能合法开展测试。据信,2015年苹果公司曾与该州车管所会面,不锈钢杯头内六角螺丝或在讨论上路测试许可事宜,但当时仅可在私人土地上进行测试。
图示:保时捷前员工Alexander Hitzinger据信现任职“泰坦计划”
据报道,四位曾受雇于美国宇航局的专家正从事苹果汽车的研发工作,据《华尔街日报》4月报道:其中三名工程师此前曾在美国宇航局喷气推进实验室工作,另一位则曾参与早期博世研发自动驾驶汽车的工作。
如果苹果真的计划推出 苹果汽车,那大众可能还需再等几年才能见到线年某报道称:苹果计划于2020年推出苹果汽车,但由于项目负责人Steve Zadesky离职等问题,计划被迫推迟至2021年。
传闻苹果汽车技术复杂,六角固定螺丝还使用了自动驾驶技术。这些都不便宜。虽然还没有具体的定价消息,但预计它的价格将与特斯拉或其他豪车持平。
2018年7月,苹果公司提出:自动驾驶系统可根据乘客的压力水平自主修改其行为,不锈钢内六角紧定螺钉即利用内部传感器测量各种数据点。如果检测到压力,六角型螺栓内六角螺钉批发系统可切换至较慢速度,或以较慢速度拐弯。
2018年7月,苹果前员工张晓朗对贸易偷窃的指控表示拒不认罪。其指控为:窃取了一份长达25页的电路板原理图,该电路板设计用于自动驾驶汽车。
2018年,双头螺栓服务据称苹果公司正与大众汽车公司合作开展该项目,大众汽车为测试提供T6 Transporter货车。这些车辆将配备专门的仪表盘和座椅,并将进一步改装车载电脑、传感器和电瓶。
综合考量专利申请、m7内六角螺丝各类传闻和猜测,苹果汽车外观可能会与目前车辆设计不大相同。
SixtyEight在加州注册了另一家公司,并从英国进口了一辆1957年的菲亚特
2017年3月,有报道称:中国的滴滴打车已在加州建立自动驾驶汽车实验室,这成为其公司实体业务的一次重大扩张。因为滴滴业务目前仍主要停留于中国境内。该实验室或在研究智能驾驶系统和基于人工智能的交通安全问题。
然而,猜测一出,许多传言、六角螺丝价格报道和专利申请都接踵而至。因此说明整车设计的想法仍然存在,并更有可能成为整个泰坦计划的核心u型螺栓价格
虽然报道最初表示:苹果公司将设计打造一款全新的汽车,也就是苹果汽车,但这些传闻也表明该公司关注点有所变化。它不再关注汽车的全局宏观设计,而是转向研发自动驾驶系统。
2020年年底报道称:苹果或将提前完成计划,于2024年推出汽车。汽车或可采用革新电池设计,从而降低成本并延长行驶里程。
2015年AppleInsider收到独家爆料:位于苹果Cupertino园区外的一处工地正在开展某项项目,不锈钢杯头内六角螺丝该工地距离 Infinite Loop仅有几分钟的路程。经调查证实,苹果确实在该地区安排大量工作人员,进行了许多汽车相关改造,包括建设汽车工作区和修理厂。附近居民曾抱怨工地施工噪音。
虽然目前这项研究更多仅用于测试,但谈判事宜也可能与未来的汽车制造有关,包括生产更小尺寸的零件,缩小传感器体积,使其更易融入苹果汽车 设计之中双头螺栓价格。
本文由入驻搜狐公众平台的作者撰写,除搜狐官方账号外,观点仅代表作者本人,不代表搜狐立场。
自动驾驶系统也可让其他司机授权后控制汽车。比如让受过紧急运输情况培训的司机,通过远程操控,引导自动驾驶车辆前往医院。

2018年的一项专利申请显示:苹果公司热衷于设计一种 转换器基础设施,可将高压源用于低电压系统。小六角螺母此外,还设计了一个电池地板。
2019年12月,苹果公司代表出庭,确保这两名员工受到严密监控,因其均有潜逃风险。
2019年1月,第二名员工陈继忠被捕。他被摄于出现在某秘密工作区,同时囤积大量项目手册、六角型螺栓图表和原理图。陈继忠曾在一家中国自动驾驶技术公司应聘,这似乎便是另一起贸易盗窃案。
苹果公司向政府机构提提交了一份文件,旨在测试公共道路驾驶前,对安全驾驶员进行培训。这也是向加州车管所申请自动驾驶汽车测试的一部分内容。35CrMoA双头螺栓与8.8级双头螺栓的区别。
2018年3月,苹果在加州测试的汽车数量增加至45辆;次年5月,测试车辆升至55辆和司国标304六角头螺丝厂家机升至83名;7月,苹果公司在加州DMV进行注册,测试车辆达到66辆。继而于2018年11月,达到72辆车和144名司机的最高峰。
尽管驱动室究竟指什么我们还不清楚,但它很可能会被用于车辆驱动系统研发,以及电池系统创新。

2018年6月,苹果公司聘请前Waymo高级工程师及美国宇航局喷气推进实验室成员Jamie Waydo。同月,报道称:YouTube名人、前NASA工程师Mark Rober也加入苹果汽车研发团队。
iPhone 11中的超宽带无线电等创新技术也可以运用于自动驾驶系统中,比如无钥匙开门。
车上其他设备还包括:各种摄像头、带天线的GPS装置、无线电通信设备和测距系统。除中央传感器阵列外,还有5个黄盖传感器,可能用于是辅助主传感系统的小型雷达阵列。

此处仍需佩戴AR或VR耳机,苹果甚至建议:如何在使用设备时尽量减少晕车情况。螺钉内六角

与其他苹果产品一样,该公司一直热衷于申请大量汽车和驾驶系统的专利。近年来,越来越多的专利逐渐浮出水面,更加证明了苹果公司对自动驾驶行业的野心。尽管没人能保证苹果公司真的会生产苹果汽车。
据悉,这个实验室位于山景城,与苹果库比蒂诺总部距离极近。虽然苹果的确为滴滴付出10亿美元的投资,但目前还未发现该实验室与苹果汽车项目有任何直接联系。六角型螺栓
开发平台专项培训文件称:驾驶员必须通过基本测试后才能获准出发,测试内容范围从基本操作到车辆系统干预。其中包括低速和高速驾驶、U型弯、突然转向输入、突然加速、制动,以及冲突转向信号和动作应对。紧固件镀锌工艺解析,

图示:2015年怎么安全使用高强度螺栓,被认为与SixtyEight Research有关的建筑照
苹果还研发了隐藏传感器的技术。不锈钢杯头内六角螺丝现已申请一项安全气囊专利,不锈钢内六角紧定螺钉用于保护自动驾驶车辆中面对面的乘客。
SUV车顶设有Velodyne激光雷达64通道装置,它被螺栓固定在定制框架上,螺钉内六角雷达阵列则安装在前后保险杠上。汽车外罩设有配备防护外壳,为自动驾驶系统提供360度的环境视图。
2019年4月的某报告显示:苹果公司正在传感器方面下大功夫,它正与制造自动驾驶系统零部件的供应商进行谈判。据报道,苹果已与多家激光雷达传感器供应商进行交谈,显然正在评估新技术高强度外六角螺栓,同时也在自主研发激光雷达硬件。
最初,苹果共有三辆车被批准测试许可,车型均为雷克萨斯RX540h SUV。小六角螺母同时配有六名司机,以防车载系统出现问题。考虑到雷克萨斯SUV的使用情况,苹果很可能仅在测试传感和AI技术,而非测试新款苹果汽车。
获得测试许可后各类相关报道层出不穷,u型螺栓基本特点的解析,苹果致函车管所:要求其澄清部分报告内容。
8月某报道称:2018年,苹果从特斯拉至少挖走了46人。然而,尽管吸纳了大量专家,并不是所有人都能被委以泰坦的重任。
当初,自动驾驶的概念自然地出现于公众视野之中。而苹果的汽车设计则大部分都处于保密状态。除了各类传言以外,目前为止只有专利申请可以表明苹果公司的设计方向。
具体来说,苹果希望车管所澄清脱离系统的报道,即安全驾驶员脱离自动驾驶系统的相关报告,比如为避免事故或应对突发事件等。苹果希望缩减相关报告,以及删减计划中的测试、测试结束、小六角螺母操作限制等细节内容,还有驾驶员的自由行为内容。

图示:用于测试“苹果汽车”自动驾驶系统的训练齿轮(training gear )
与专利申请和传闻中的设计不同,人们大多认为苹果已开发并测试一套自动驾驶系统。这套系统已见于向政府监管机构提交的公开文件中,甚至已被人在公共道路上发现。
据苹果分析师称,苹果汽车或将于2023年到2025年之间发行。目前还没有其他证据证实这一说法,但已有许多迹象表明,研发项目正在进行中。
与此同时,据说苹果正积极雇佣工程师,并与供应充电站的公司探讨技术发展,从而完善充电基础设施建设。据称某不知名工程建筑公司已与苹果公司就提供服务事宜进行接触。
截至2016年10月,各类报道称:苹果似乎正在缩减项目规模,专注研发自动驾驶技术,小六角螺母使其与汽车制造商合作,或者在未来重返研发苹果汽车的道路。
2020年底苹果获得一项专利,其中详细说明:包含凹槽(notch)的前挡风玻璃如何实现为传感器腾出放置空间。这与iPhone使用Face ID处理凹槽问题的方式类似。
据信,苹果公司正在研发电动汽车项目,六角螺丝价格计划于未来几年内推出。据说该绝密项目设于加州桑尼维尔境内的 SG5 实验室之中。公司内部称其为称为泰坦计划,或将在未来创造苹果汽车。
早期,苹果公开承认其对于研发汽车的野心时,曾在2016年11月向美国国家公路交通安全管理局提交一份声明,其中提出了一项政策更新。这项政策将为行业新势力和成熟的制造商提供相同的机会,都可在公共道路上测试汽车。
2017年4月14日,加州机动车管理局批准苹果公司可在当地测试自动驾驶汽车,这表明苹果公司可能还在开展泰坦计划和 苹果汽车的研发。
2016年12月,六角螺丝价格苹果公司为自动驾驶汽车列下第一个例子:一项专利申请详细介绍任意多边形障碍物的防撞方法。
张先生是 泰坦计划计算团队中的一员。他在离职时交付了公司工具,六角固定螺丝预计前往广州,跳槽至XMotors。六角头不锈钢螺钉此时,苹果安全团队发现了一项涉及的异常下载活动。

使用VR和AR技术也是重大变革之一,m7内六角螺丝包括在挡风玻璃上使用投影系统,以显示道路的AR视图紧固螺帽的方法有哪几种!还有用户视野以外的事物,比如自动驾驶系统的预定路径。
苹果设备可在自动汽车中扮演另一个关键角色:为乘客显示警报。如果苹果汽车处于自动驾驶模式,那么乘客可能无法完全了解车外环境。若车外感应到异常情况,苹果设备便会发出警报,提醒乘客注意,从而避免事故。
据报道,螺钉内六角2018年10月,苹果与Milpitas仓库签订10年租约。该仓库面积近31.4万平方英尺,属于单层建筑,其主要用途或用于研发和仓储。
该设施也可能用于其他研发项目。2019年5月,不锈钢内六角紧定螺钉报道称,苹果正在建造 大型驱动室。 Roth Capital Partners的金融分析师Craig Irwin宣称:这是泰坦计划依然存在的证据。


苹果汽车或将采用其他产品中常用的流线型线条;使用宽大的旋转门,而不需要固定中央门柱,车门开口也能更大;也有可能使用AR和VR技术、屏幕内显示屏、隐私照明以及独特天窗设计等。同时由于使用自动驾驶系统,不锈钢杯头内六角螺丝传统座椅减少,整体布局也将更加别具一格。
对于车辆系统来说,这一专利将保证汽车安全行驶经过移动障碍物和其他固定障碍物。
最初设想的苹果汽车可通过指纹检测司机,然后便可随心驾驶。但现在这一设想已变为更加宏大的目标。六角头螺母规格不过,还有一个因素可能阻碍苹果汽车的研发:汽车供应链。虽然苹果早已习惯牢牢控制iPhone等设备的供应商,但它可能也已发现:由于涉及更深层次的费用以及初始产量可能较小,汽车零部件制造商或并不乐于生产苹果汽车。
2017年8月,据报道:苹果公司正为其自动驾驶项目招聘员工。据信,主要招聘拥有生产自动汽车软件经验的人员。不锈钢内六角紧定螺钉
信心(confidence)系统可帮助削减处理车载传感器中大量数据所需的资源国标304六角头螺栓厂家如果它认为没有必要处理最低水平的数据,则会减少需要处理的数据量。除节省资源外,它还有助于加快决策过程。
2019年3月,苹果公司聘请前特斯拉工程副总裁Michael Schwekutsch。他在动力系统开发方面有着丰富的经验,这也表明汽车设计仍然是苹果汽车项目的重点。
2017年7月的某篇报道称:苹果公司正与中国公司宁德时代(CATL)合作,共同研发汽车的新型电池。保密协议细节曝露不多,CATL官方也拒绝对此发表评论。使用防盗螺丝需要注意些什,
使用现有车型测试自动驾驶系统的原因之一可能是:测试苹果汽车会破坏真正面世时的惊喜。公开展示新车的设计也会让其他汽车制造商进行效仿,甚至在苹果汽车亮相前创新改造推出不锈钢u型螺栓。
在审讯中,张某最初否认了这些指控,但后来承认拿走了两块电路板和一台Linux服务器,还将公司电脑文件传输到了妻子的笔记本中。
苹果产品完整性总监Steve Kenner写道,苹果公司认为:公众接受度对于自动化汽车发展至关重要,其核心在于知晓被测试车辆的安全透明性和直观数据, 然而,目前和拟议的脱离系统报告无法达到这一目的。
2017年4月底,苹果公司用于自动驾驶汽车测试的车辆首次出现在大众视野之中,其被曝光运离苹果公司的某家工厂。

2018年8月31日,苹果公司首次报道自动驾驶汽车事故。这起低速事故中,汽车被一辆
曾任苹果公司Mac硬件工程副总裁的Doug Field,在特斯拉工作5年后,于2018年8月被返聘回苹果公司。

起初有报道称:苹果内部的电动汽车上市日期为2021年。但有传言称第一代车型不是自动驾驶汽车。高强度双头螺栓怎么进行热处理据说超1000人参与自动驾驶项目,但已进行多次裁员。据称,该项目最初的负责人之一Steve Zadesky已离开公司,或由特斯拉车辆工程副总裁Chris Porritt接替。2016年7月,据传苹果公司高管Bob Mansfield将兼任项目负责人。
2018年4月,苹果从谷歌聘请John Giannandrea,负责AI战略等工作。据推测,其职责也包括自动驾驶系统研发,
2019年7月,苹果聘请了前特斯拉工程副总裁Steve MacManus,任命其为高级总监。尽管头衔模糊,但他很可能就是 泰坦团队中的一员温室大棚专用u型螺栓
消息人士称:泰坦计划背后的设计和技术仍在不断变化。苹果曾一度考虑将宝马的
i3)用作 苹果汽车的基础。苹果和宝马也已就合作进行了谈判。但据报道:宝马和戴姆勒都已结束与苹果的谈判,六角头螺母规格不再探讨研发项目的事宜,因为两家公司对于谁领导项目,石化高强度外六角螺栓!数据贵谁无法达成一致。
在2016年项目方向混乱不定后,“泰坦计划”内许多团队人员或自行离职,或被重新分配或裁员。据称,剩余员工被要求于2017年年底作出成绩,紧固件行业发展的关键是创新!以显示自动驾驶技术的发展。据称,2016年8月发生第一轮裁员,而后是同年9月。
尽管交易条款未被透露,但2017年Drive.ai估值约为2亿美元,收购价格大概在此价格上下浮动。
2014年7月,桑尼维尔市批准苹果公司,双头螺栓服务!可建立与SG5设施独立的 汽车测试中心,旨在测试 运用于高端汽车的新电子技术。

2018年2月,加州车管所获得加州行政法办公室批准,制定相关规定:允许汽车公司在公共道路上测试远程操作的自动驾驶车辆。从4月2日开始,DMV允许自动驾驶汽车上路时无需配备司机,而由人类的 远程司机利用通信链路监控驾驶。一旦发生紧急情况,可随时可以使用车载系统控制汽车。
有消息称:SixtyEight Research所在的办公大楼属于苹果公司开展秘密电动汽车项目的区域,这不禁让人们猜测:苹果公司在利用SixtyEight打掩护。

该报道称:苹果显然已从赫兹子公司Donlen租下一支 小型车队进行驾驶测试。内六角螺钉批发雷克萨斯RX450h SUV曾是测试车型,这次便也采用同款车型。随后CNBC报道称:苹果仅从Donlen租赁6辆汽车。专用螺栓,m7内六角螺丝虽然数量不多,但实际等同于苹果当时公共道路测试数量的两倍。
目前我们还不清楚:车辆是否只会由苹果指定的司机驾驶,以及赫兹用户是否可租用安装自动驾驶系统的车辆。但现今消息较少,表明普通公众并未参与自动驾驶汽车的使用。
时任苹果公司产品完整性总监的Steve Kenner表示:联邦自动化车辆政策已为自动车辆发展铺平了一条安全而灵活的道路,但他同时提议:应当对行业新势力公司实行更加开放的监管法规。
从照片上看,车型为2016-2017年的雷克萨斯RX450h,这是此前用于测试的2015年版车辆的新款。设备的位置同之前相比已发生变化,全部安装于车顶之上,测试台也进行了升级和改变了外观设计。

2017年3月,六角固定螺丝苹国标304外六角螺栓厂家果在瑞士设立研究实验室,从事计算机视觉、机器人和视304六角头螺栓生产厂家觉导航的工作人员在此工作。当地报道称,U型螺栓的表面处理(2)-固伦特机械,工作人员之一Roland Siegwart表示:他的五名专家已经离开该实验室,但仍无法证实这就是苹果研发机构。

苹果公司表示:这套传感器系统的用途不仅局限于开车,它还可用于拍摄照片。从沿途风景到车祸现场都可拍摄,也更便于向保险公司提供证据。m7内六角螺丝


车辆元素的设计也属于专利之一。苹果汽车的天窗可设置为可滑动的大玻璃板,六角型螺栓同时也也人提出可设计为具有独立滑动和升降功能的多段式天窗。
自动驾驶车辆需要告知其他车辆司机或行人其驾驶路线螺栓批发紧固件不锈钢螺丝螺丝批发新城定制,苹果认为这一点应当继续加强。可通过车辆后部或两侧的标志国标外六角螺栓规格。内六角螺钉批发明确告知其他司机或行人自己的下一步动向。也可在车辆周边设置灯带,起到大型刹车灯或指示灯的作用。小六角螺母
该专利适用于二维及三维空间,其主要概述了:出现未预知障碍物时,汽车安全驾驶的系统和方法。专利同时考虑到了凸面和凹面物体、移动和静止的障碍物以及其他可能影响驾驶通过的事物。
据说,2016年5月,在硅谷一个挤满数百名泰坦员工的礼堂内u型螺栓。Mansfield宣布了新的泰坦战略。他解释道:他认为苹果不应与特斯拉正面竞争。六角头螺母规格因为特斯拉已有几款电动汽车成功上市,而且还在逐步研发完全自动驾驶系统。
汽车间的通信可提供更强的态势感知(situational awareness)。比如某自动驾驶汽车系统提醒可其他汽车注意自己的位置。m7内六角螺丝防滑恢复系统可帮助危险情况下保持汽车的控制。
早有传言称:苹果正积极研发汽车项目,u型螺栓,最终有可能促使苹果汽车的问世。所有研究项目均称为泰坦计划。这一计划主要分为两大类:自动驾驶汽车系统和汽车设计。
泰坦计划大约始于2014年9月,苹果CEO Tim Cook宣布开始研发苹果汽车。六角头不锈钢螺钉2015年3月,AppleInsider在SG5地区发现该研发项目的第一个具体证据。
苹果汽车可能是苹果迄今为止最宏大的事业,也是其最保守的秘密。这个项目最终大白于天下可能就在未来几年。
次年8月,加州车管所数据显示:苹果公司拥有143名司机,但并未显示测试汽车数量。
2019年初,有报道称:苹果公司在泰坦团队中裁掉200多名员工,内部称之为 重组工作。随后,苹果确认:计划从该项目中裁员190人。
同年8月25日,有路人发现苹果自动驾驶测试台的最新版。据报道,这辆车停在加州桑尼维尔苹果公司办公室外。六角头不锈钢螺钉
起初,泰坦计划据传与苹果汽车有关,并将于2019年或2020年交付u型螺栓规格尺寸表,然而直到2015年年底,这个项目却发生了难以置信的领导失败。某消息人士透露:项目中的经理们为其发展方向争论得面红耳赤,而后也导致了项目负责人Steve Zadesky离职。
也有人认为:苹果公司正在瑞士的某研究机构中开展研发项目螺栓_螺母_销及键_垫圈–【东台市金东不锈钢制品厂】。内六角螺钉批发2017年3月报道称:10名苏黎世联邦理工学院的博士生和博士后前往该实验室国标外六角螺栓,其中包括专门研究计算机视觉、机器人和视觉导航的专家。316六角螺栓304六角头螺栓304六角头螺丝厂家